- Ειδήσεις
- Hardware & Gear
- PlayStation VR 2 controllers
PlayStation VR 2 controllers
Hot
PlayStation VR 2 controllers
Πληροφορίες
Η Sony παρουσίασε τα χειριστήρια του PlayStation VR 2. [UPDATE]
[Αρχική δημοσίευση: 6/7/20] Μια περίεργη πατέντα κατοχυρώθηκε πρόσφατα από την Sony Interactive Entertainment και αφορά το PlayStation VR Headset.
Αυτή η πατέντα περιλαμβάνει μια λειτουργία η οποία θα δείχνει διαφημίσεις όσο εσείς παίζετε με το PlayStation VR. Αυτό βέβαια εγείρει πολλά ερωτήματα, όπως ποια θα είναι η συχνότητα αυτών των διαφημίσεων και αν αυτή η λειτουργία να υπάρχει στο PlayStation VR 2. Σύμφωνα με την πατέντα, για να υπάρχει αυτή η λειτουργία θα πρέπει να κατασκευαστεί ένα καινούργιο headset. Το καινούργιο headset θα περιέχει καινούργια μονάδα επεξεργασίας η οποία θα παρατηρεί το που κοιτάει ο παίκτης και θα τοποθετεί τις διαφημίσεις σε βολικό σημείο.

Οι διαφημίσεις θα εμφανίζονται στην κορυφή της οθόνης ως μικρό popup παραθυράκι. Υπάρχουν αρκετά μέρη που μπορούν να εμφανιστούν οι διαφημίσεις, όμως περισσότερο εξαρτάται από το τι game παίζεται. Για παράδειγμα, δεν γίνεται να σας βγάζει διαφημίσεις εκεί που έχει ένα game το minimap του. Οι παίκτες δεν δέχονται ευχάριστα τις διαφημίσεις στα games τους, αν τελικά η Sony το εφαρμόσει αυτό, θα είναι μια “τολμηρή” κίνηση.
Φυσικά, δεν είμαστε σίγουροι ότι αυτή η πατέντα θα δει το φως της ημέρας, όπως και πολλές άλλες κατοχυρωμένες πατέντες, ωστόσο μας δείχνει το τι κατεύθυνση ενδεχομένως να ακολουθήσει η gaming βιομηχανία.
[UPDATE: 25/9/20 - Νέα πατέντα για το PlayStation VR 2] Η νέα πατέντα της Sony για το PlayStation VR 2 δείχνει ότι η Ιαπωνική εταιρεία κατοχύρωσε την πατέντα αυτή την προηγούμενη εβδομάδα στην Ιαπωνία και ότι ετοιμάζει VR controllers.

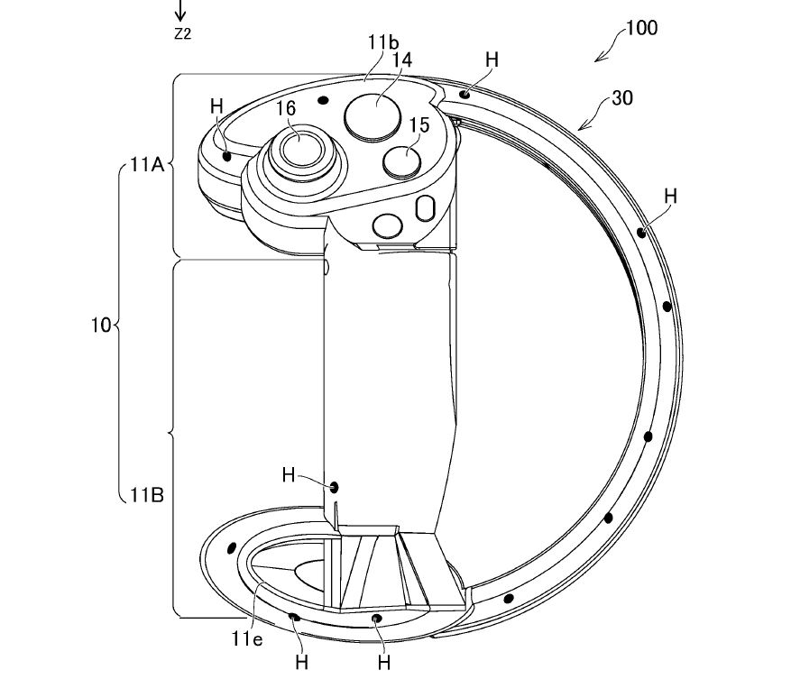
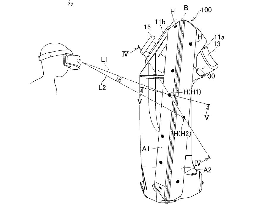
Τα νέα χειριστήρια θα υποστηρίζουν inside-out tracking (ενδεχομένως και το PlayStation VR 2), άρα θα μπορούν να λειτουργήσουν χωρίς την ανάγκη εξωτερικού σένσορα. Αυτό είναι ορατό στους σένσορες στο πίσω μέρος του χειριστηρίου, εκεί όπου βρίσκονται τα triggers.

Τα διαγράμματα της πατέντας δείχνουν έναν σχεδιασμό παρόμοιο με τα χειριστήρια του Valve Index. Υπάρχει αναλογικός μοχλός και διάφορα κουμπιά. Ακόμη, θα δούμε και κάποιου είδους σύστημα ανίχνευσης δαχτύλων, κάτι που έχουμε ξαναδεί και σε παλιότερη πατέντα της Sony.

[UPDATE: 18/3/21 - Η Sony παρουσίασε το νέο χειριστήριο] Η Sony άρχισε να μοιράζεται περισσότερες πληροφορίες για την επόμενη γενιά των VR συστημάτων. Η Ιαπωνική εταιρεία ανακοίνωσε και παρουσίασε σήμερα τα controllers του PSVR 2.0 για το PS5.
Ο senior vice president του PlayStation, Hideaki Nishino ανέφερε σε ένα blog post: "Το νέο VR controller μας βοηθάει στην επίτευξη του στόχου για βαθύτερη αίσθηση της παρουσίας και ισχυρότερο συναίσθημα συγκέντρωσης στις VR εμπειρίες. Θα χτίσει επάνω στις καινοτομίες που εισήγαμε με το DualSense, το οποίο άλλαξε την αίσθηση των games στο PS5, ξεκλειδώνοντας μία νέα προσέγγιση στην αίσθηση της αφής. Πλέον φέρνουμε αυτή την καινοτομία στο VR gaming. Σχεδιάσαμε επίσης το νέο controller με την εργονομία ως προτεραιότητα, ώστε να είναι σωστά ισορροπημένο και άνετο και στα δύο χέρια. Εφαρμόσαμε όσα μάθαμε από τις δοκιμές των παικτών με διάφορα μεγέθη χεριών. Το αποτέλεσμα είναι ένας εμβληματικός σχεδιασμός ο οποίος θα αλλάξει τον τρόπο με τον οποίο παίζονται τα VR games."

Το PS5 VR 2.0 controller έχει σφαιρικό σχήμα, το οποίο σύμφωνα με την Sony θα σας επιτρέπει να έχετε πιο φυσικό χειρισμό και απόλυτη ελευθερία κινήσεων χωρίς περιορισμούς. Συμπεριλαμβάνει επίσης μία σειρά από λειτουργίες, όπως τα adaptive triggers, δηλαδή σκανδάλες οι οποίες πιέζονται ευκολότερα ή δυσκολότερα ανάλογα με τις ανάγκες του gameplay. Το PS5 VR 2.0 controller διαθέτει και λειτουργία haptic feedback, όπως και το DualSense, επιτρέποντας στους παίκτες να αισθανθούν την διαφορά ανάμεσα στα games που παίζουν με διαφορετικά μοτίβο δονήσεων. Ακόμα μία ενδιαφέρουσα λειτουργία είναι το finger touch detection, μέσω της οποίας το controller εντοπίζει τα δάχτυλά σας χωρίς να χρειαστεί να πατήσετε το πλήκτρο.
Ο Nishino δήλωσε στη συνέχεια: "Είμαστε ενθουσιασμένοι με το controller που δημιουργήσαμε, όμως το ζήτημα είναι το πως θα εκμεταλλευτούν οι εταιρείες ανάπτυξης αυτές τις λειτουργίες, ώστε να σχεδιάσουν τις VR εμπειρίες της επόμενης γενιάς. Τα πρωτότυπα του νέου VR controller θα σταλούν στα χέρια των developers σύντομα και ανυπομονούμε να δούμε τις ιδέες που θα υλοποιηθούν και το πως το controller θα βοηθήσει την φαντασία τους να πάρει υπόσταση."

Λειτουργίες PS5 VR 2.0:
- Adaptive triggers: Κλιμακούμενη αντίσταση στις σκανδάλες.
- Haptic Feedback: Διαφορετικά μοτίβο δόνησης συντονισμένα με το gameplay.
- Finger touch detection: Εντοπισμός δακτύλων χωρίς την ανάγκη να πατήσετε κάποιο πλήκτρο.
- Tracking: Το controller εντοπίζεται από το headset μέσω ενός δακτυλίου εντοπισμού στο κάτω μέρος της συσκευής.
- Action buttons / analog sticks: Το αριστερό controller έχει αναλογικό stick και τα κουμπιά Τετράγωνο και Τρίγωνο, L1, L2 και το κουμπί Create. Το δεξί controller έχει ένα αναλογικό stick το "X", τον κύκλο, R1, R2, R και το κουμπί Option.
Η Sony δεν έχει παρουσιάσει ακόμα το headset του PSVR 2.0 και δεν υπάρχουν ανακοινώσεις σχετικά με την τιμή του.
Διαβάστε για το PlayStation VR 2 και συζητήστε για αυτό στο σχετικό forum topic.

Comments