PlayStation AI πατέντα: Το AI θα περνάει τα games αντί για εσάς
New
PlayStation AI πατέντα: Το AI θα περνάει τα games αντί για εσάς
Πληροφορίες
Θα λαμβάνει υπόψη video tutorials που έχουν δημοσιευτεί online.
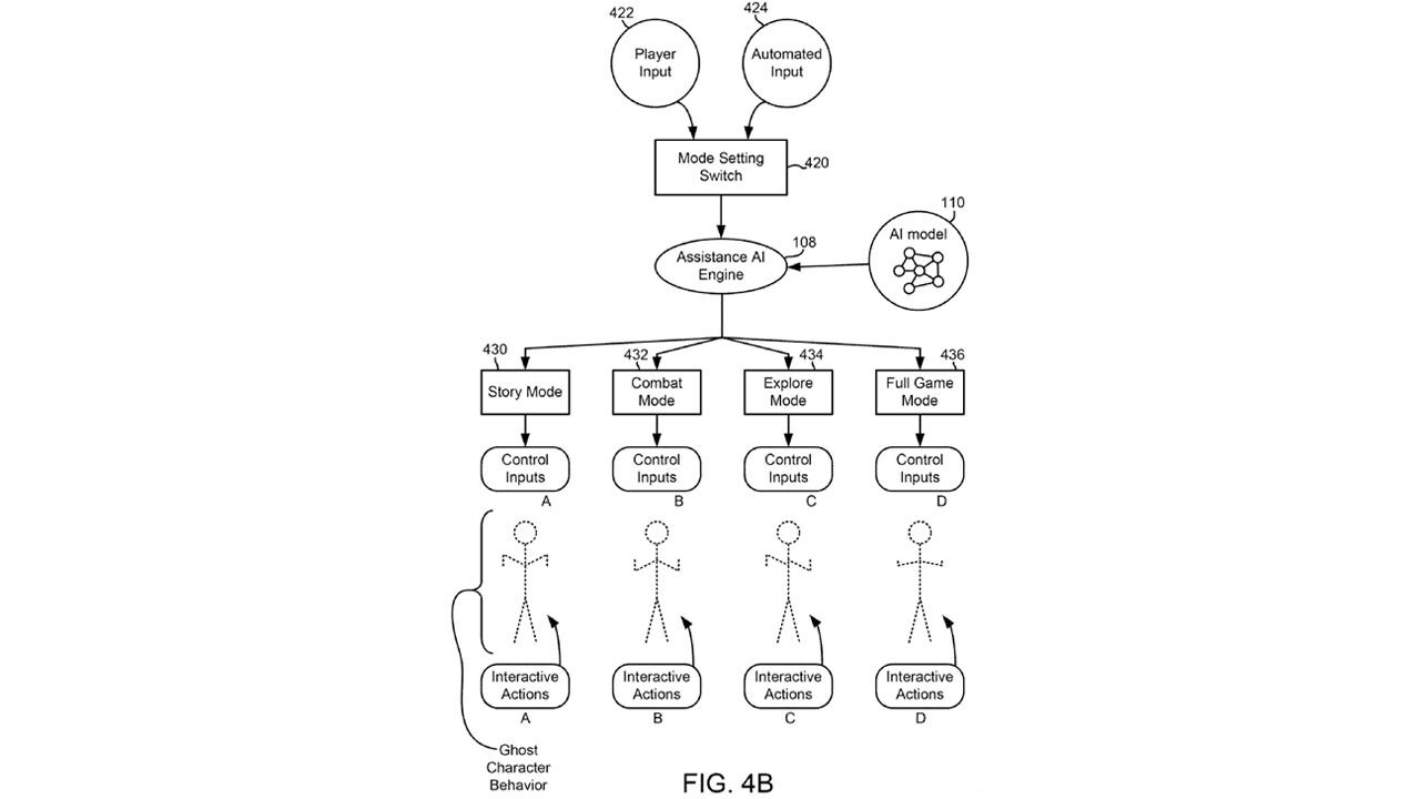
Η Sony έχει καταθέσει μία πατέντα ευρεσιτεχνίας που θα μπορούσε ενδεχομένως να επιτρέψει στην τεχνητή νοημοσύνη (AI) να αναλάβει το παιχνίδι σας για εσάς εάν δυσκολεύεστε με αυτό. Τα έγγραφα υποδηλώνουν ότι αυτή η βοήθεια απο το AI μπορεί να ενεργοποιηθεί ανά πάσα στιγμή είτε για να καθοδηγήσει έναν παίκτη στην πρόοδο είτε για να αναλάβει τον άμεσο έλεγχο του παιχνιδιού.
Όπως αποκαλύφθηκε στα έγγραφα ευρεσιτεχνίας που κατατέθηκαν για πρώτη φορά τον Σεπτέμβριο του 2024, το σύστημα υποστήριξης τεχνητής νοημοσύνης θα μπορούσε ενδεχομένως να παίξει ένα τμήμα ενός παιχνιδιού με το οποίο ένας παίκτης δυσκολεύεται, ολοκληρώνοντάς το για αυτόν. Η Sony περιγράφει την ιδέα της εκπαίδευσης του ΑΙ αγεντ χρησιμοποιώντας "πλάνα από πολλούς χρήστες που έχουν παίξει το παιχνίδι" και διάφορες άλλες online πηγές όπου έχουν ανεβάσει βίντεο παιχνιδιού.
Ένα παράδειγμα από τη Sony, που δείχνει πώς θα μπορούσε ενδεχομένως να λειτουργήσει η λειτουργία.

Τα τελευταία δύο χρόνια, η Sony έχει εργαστεί πάνω σε διάφορες λειτουργίες για να κάνει τα games της πιο προσιτά. Η κονσόλα PS5 κυκλοφόρησε με το σύστημα Game Help, το οποίο προσφέρει χρήσιμες συμβουλές και κόλπα μέσω σύντομων βίντεο και εικόνων σε κάρτες PS5 που μπορούν να ανακληθούν άμεσα κατά τη διάρκεια του παιχνιδιού. Ενώ οι προγραμματιστές δεν το έχουν υιοθετήσει ευρέως, εξακολουθεί να είναι μια χρήσιμη λειτουργία για τα games που το υιοθετούν.
Η Sony έχει επίσης επεκτείνει τις επιλογές προσβασιμότητας για πολλά από τα games της, ενώ games όπως το God of War Ragnarok και το Horizon Forbidden West έχουν επικριθεί για την προσφορά υπερβολικής βοήθειας στους παίκτες.
Δείτε ποια άλλη πατέντα κατοχύρωσε η Sony το 2023 σχετικά με το επίπεδο δυσκολίας και συζητήστε για το PS5 στο παρακάτω forum topic.
