- Ειδήσεις
- Κονσόλες
- Η Nintendo κατοχύρωσε πατέντα για dock του Switch με περιστρεφόμενες υποδοχές για καλώδια
Η Nintendo κατοχύρωσε πατέντα για dock του Switch με περιστρεφόμενες υποδοχές για καλώδια
Hot
Η Nintendo κατοχύρωσε πατέντα για dock του Switch με περιστρεφόμενες υποδοχές για καλώδια
Πληροφορίες
Κυκλοφορία
0000-00-00
Ενδέχεται να χρησιμοποιηθεί στον διάδοχο του Switch.
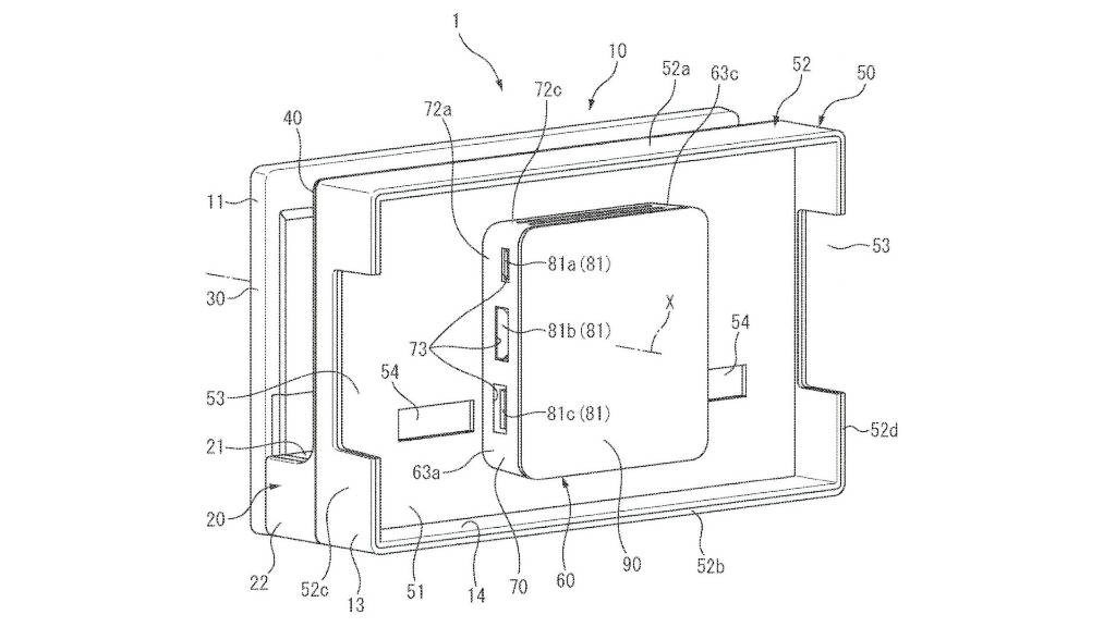
Η Nintendo κατοχύρωσε νέα πατέντα για dock του Switch με περιστρεφόμενη υποδοχή για καλώδια.
Ως τώρα οι υποδοχές των καλωδίων στο dock του Switch είναι στην δεξιά μεριά. Στην απεικόνιση της πατέντας φαίνονται υποδοχές για AC adapter, HDMI και WLAN. Η μονή διαφορά δηλαδή είναι ότι το κομμάτι με τις υποδοχές θα μπορεί να περιστρέφεται προς οποιαδήποτε μεριά.
Πιθανότατα αυτή η βελτίωση θα έρθει με τον διάδοχο του Switch, ο οποίος φημολογείται ότι θα κυκλοφορήσει αρχές του 2025. Πάντα όμως υπάρχει και το ενδεχόμενο η Nintendo να μην χρησιμοποιήσει κάπου την πατέντα αυτή.
Δείτε τις συνολικές πωλήσεις του Switch και συζητήστε για την κονσόλα στο σχετικό forum topic.